Loading...

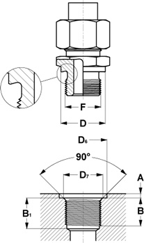
ISO 1179-4 PORTS FOR BSPP THREAD

The sealing is accomplished by means of cutting surface.
Spot-faced surface must be square to thread in port. Machining operations such as A and D6 not required when port surface complies with requirements.
 

F DIMENSIONI DIMENSIONS
GAS-BSPP
1/8-28 1/4-19 3/8-19 1/2-14 3/4-14 1"-11 1"1/4-11 1"1/2-11
Ø EST NOM OD NOM 9,73 13,16 16,66 20,96 26,44 33,25 41,91 47,80
Ø INT MIN ID MIN 8,6 11,45 14,95 18,65 24,12 30,3 38,95 44,85
A MAX 1 1,5 2 2,5 2,5 2,5 2,5 2,5
B MIN. 8 12 12 14 16 18 20 22
B1 MIN. 10 15 15 18 20 23 25 25
D 13,8 17,8 21,8 25,8 31,8 38,8 48,8 54,8
D6 MIN. 15 20 23 28 33 41 51 56
D7 +0,20 9,8 13,2 16,7 21 26,5 33,3 42 47,9
COPPIA DI SERRAGGIO
ASSEMBLY TORQUE (N.m)
SERIE LEGGERA - LIGHT SERIES
18 35 70 120 180 330 540 630
PRESS.MAX. DI ESERCIZIO (BAR)
RACCORDI DIRITTI
MAX. OPER. PRES. (BAR)
STRAIGHT CONNECTORS
250 250 250 200 160 100 100 100
COPPIA DI SERRAGGIO
ASSEMBLY TORQUE (N.m)
SERIE PESANTE - HEAVY SERIES
  55 90 140 270 340 540 700
PRESS.MAX. DI ESERCIZIO (BAR)
RACCORDI DIRITTI
MAX. OPER. PRES. (BAR)
STRAIGHT CONNECTORS
  400 400 400 400 250 160 160

Register to our newsletter